Witam serdecznie wszystkich użytkowników.
Mam na imię Łukasz i od niedawna jestem posiadaczem Mazdy 5 z 2008 wyposażonej w silnik 1.8 benzyna + LPG.
Pozwoliłem sobie utworzyć nowy wątek z uwagi na to, ze nigdzie nie znalazłem odpowiedzi na problem, z którym się spotkałem.
Zauważyłem w swoim egzemplarzu, że prawa osłona prowadnicy tylnych drzwi przesuwnych delikatnie odstaje w okolicy styku z drzwiami. Postanowiłem zdjąć klosz tylnej lampy i podejrzeć jak ta osłona jest zamontowana. Okazuje się, że jest ona przytwierdzona za pomocą 5 plastikowych spinek(na zdjęciu zaznaczone na żółto), z których jedna nie trzyma stąd odgięcie. Tylna(czyt. bliższa reflektora) cześć osłony, po mocniejszym szarpnięciu, puściła, niestety od strony drzwi coś jeszcze ją trzyma. Zastanawiam się czy jeden z punktów mocujących to nie śruba (zaznaczone na czerwono), a jeśli tak, to jak dostać się do nakrętki, aby uwolnić osłonę?
Proszę o pomoc.
Demontaż osłony prowadnicy drzwi przesuwnych
Strona 1 z 1
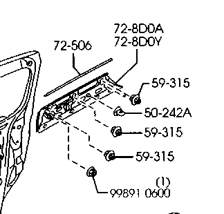
znalazłem coś takiego:
Ale niestety nie wiem jak się dostać, wychodzi na to że to co zaznaczyłeś na czerwono to śruba. tak jest w opisie (ten numer z jedynką w nawiasie).
Tu masz rysunek ogólny, panel oznaczony "łapką" i numerem 7200
Dopisano 23 lis 2016, 18:47:
A spróbuj zajrzeć w nadkole odchylając osłonę
jeśli tam nie będzie to raczej zostaje już tylko od wnętrza czyli demontaż boczka.
Ale niestety nie wiem jak się dostać, wychodzi na to że to co zaznaczyłeś na czerwono to śruba. tak jest w opisie (ten numer z jedynką w nawiasie).
Tu masz rysunek ogólny, panel oznaczony "łapką" i numerem 7200
Dopisano 23 lis 2016, 18:47:
A spróbuj zajrzeć w nadkole odchylając osłonę
jeśli tam nie będzie to raczej zostaje już tylko od wnętrza czyli demontaż boczka.
Dzięki za zainteresowanie, też widziałem te schematy. Niestety nie widać na nich sposobu montażu osłony. Raczej wątpię żeby mocowanie było na nadkolem, niebawem rozbebeszę bok bagażnika i się okaże. Napewno się pochwalę. Dzięki za pomoc.

- Od: 21 lis 2016, 10:03
- Posty: 6
- Auto: Mazda 5, 1,8 benzyna + LPG (Stag300), 2008r.
Spróbuj wpierw zajrzeć przez osłonę nadkola. Zajmie 5 minut. Ja mam jednak wrażenie że właśnie śruby/nakrętki są od nadkola. Nie bez powodu na schemacie jest osłona nadkola a nie boczek z bagażnika???
Nadane telegrafem Z1
Nadane telegrafem Z1
Ostatnio natknąłem się na coś takiego: https://www.youtube.com/watch?v=9evxNTmF2d8 Wydaje mi się, że to wersja CW ale powinno być podobnie w CR.

- Od: 21 lis 2016, 10:03
- Posty: 6
- Auto: Mazda 5, 1,8 benzyna + LPG (Stag300), 2008r.
lukasz_g napisał(a):Ostatnio natknąłem się na coś takiego: https://www.youtube.com/watch?v=9evxNTmF2d8 Wydaje mi się, że to wersja CW ale powinno być podobnie w CR.
Tak to jest CW. Ale w CR będzie niemal identycznie czyli trzeba cały bagażnik rozebrać aby móc zdemontować panel [DISAPPOINTED FACE]
Wysłane z mojego LG-H815 przy użyciu Tapatalka
Strona 1 z 1
Kto przegląda forum
Użytkownicy przeglądający ten dział: Brak zidentyfikowanych użytkowników i 6 gości
