Mazda3 – filtr paliwa w silniku 2.0 LF

Postprzez kuman1987r » 7 mar 2013, 22:44

Czy wogule i gdzie były montowane filtry paliwa w 2.0 Beznyna ?

Bo ja w swoim nie znalałem a chciałem wymienić <czarodziej>

PS dobra czyli jest wbodowany w baku z pompa paliwa :) ciekawe bo sprzedawca wcisnoł mi filt paliwa <lol>
Avatar użytkownika
Forumowicz
 
Od: 25 lut 2008, 13:20
Posty: 482 (4/3)
Skąd: Chełmek
Auto: Mazda 3 BK 2.0 LF
+
Mazda 3 BM 2.0 SkyEnergy Blue Reflex

Postprzez Sizuk » 24 lis 2015, 18:43

w baku ?
Początkujący
 
Od: 3 lis 2015, 18:58
Posty: 10

Postprzez cisman » 24 lis 2015, 22:14

ja powiem tam w aso mówią że jest w baku jako siteczko ale jest mnóstwo zamienników jako filtr przepływowy i z ciekawości kiedyś o tym gadałem z mechanikiem ten tez powiedział że jest w baku poszukał i powiedział że znalazł taki filtr gdzieś w okolicach baku w tylniej belce ale nie jest pewny czy to ten bo nie mógł porównać ani go wyciągnąć z racji tego że byłem u niego przejazdem a autka nie zostawiałem. W aso w dąbrowie górniczej powiedzili mi że filtr sie wymienia wiec sam już niewiem może po następnych 10 tys powiem mechanikowi aby może to sprawdził co to jest chyba że ktoś z forumowiczów wie?
Forumowicz
 
Od: 21 lip 2015, 18:03
Posty: 121 (5/1)
Skąd: Częstochowa
Auto: Jest: Mazda 6 GH 147km 2.0 GH 2008
Było/jest: Mazda 3 150km 2.0 BK 2003

Postprzez marcin255 » 24 lis 2015, 22:22

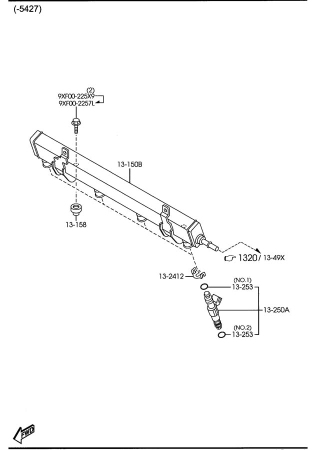
FUEL SYSTEM FLOW DIAGRAM

1 Fuel-filler cap
2 Fuel filter (high-pressure)
3 Pressure regulator
4 Fuel pump unit
5 Fuel pump
6 Fuel filter (low-pressure)
7 Fuel tank
8 Fuel injector
9 Fuel flow
Załączniki
B3E0114T004.png
Ceed GT 1.6T 225KM
Obrazek
T-Roc 2.0 TSI 4motion 190KM
Obrazek
Avatar użytkownika
Forumowicz
 
Od: 28 gru 2008, 23:14
Posty: 5324 (26/45)
Skąd: Wrocław
Auto: Była 323F BA
87 KM -122 Nm
Mazda 3-2.0 LF
166 KM -209
KIA CEE’D GT
204 KM -265 Nm up
225 KM -330 Nm
T-Roc 2.0TSI 4motion 190KM 320Nm up.....?

Postprzez cisman » 24 lis 2015, 22:46

a jak się to ma do tego?
http://baza.edpol.pl:8080/partscatalogu ... pnode=1690
bo niby cos takiego znalazł :)
Forumowicz
 
Od: 21 lip 2015, 18:03
Posty: 121 (5/1)
Skąd: Częstochowa
Auto: Jest: Mazda 6 GH 147km 2.0 GH 2008
Było/jest: Mazda 3 150km 2.0 BK 2003

Postprzez marcin255 » 24 lis 2015, 22:48

nie wiem jak się to ma to co dałem to oficjalny manual Mazdy

cały układ
Załączniki
3B26781.jpg
3B29231.jpg
3B31312 (1).jpg
Ceed GT 1.6T 225KM
Obrazek
T-Roc 2.0 TSI 4motion 190KM
Obrazek
Avatar użytkownika
Forumowicz
 
Od: 28 gru 2008, 23:14
Posty: 5324 (26/45)
Skąd: Wrocław
Auto: Była 323F BA
87 KM -122 Nm
Mazda 3-2.0 LF
166 KM -209
KIA CEE’D GT
204 KM -265 Nm up
225 KM -330 Nm
T-Roc 2.0TSI 4motion 190KM 320Nm up.....?

Postprzez Kyuz0 » 29 maja 2016, 21:59

Obrazek
A ja mam filtr paliwa w miejscu gdzie ktoś kiedyś pisał na foum za bakiem przed belką.
Kyuz0
 

Postprzez marcin255 » 29 maja 2016, 22:05

może po fl tak jest ?
Ceed GT 1.6T 225KM
Obrazek
T-Roc 2.0 TSI 4motion 190KM
Obrazek
Avatar użytkownika
Forumowicz
 
Od: 28 gru 2008, 23:14
Posty: 5324 (26/45)
Skąd: Wrocław
Auto: Była 323F BA
87 KM -122 Nm
Mazda 3-2.0 LF
166 KM -209
KIA CEE’D GT
204 KM -265 Nm up
225 KM -330 Nm
T-Roc 2.0TSI 4motion 190KM 320Nm up.....?

Postprzez Kyuz0 » 30 maja 2016, 12:57

Poszukałem dzisiaj troche i jest to filtr węglowy 3M51-9E857 ale nie widzę by można go było kupic nowego w sklepie wiec chyba sie nie wymienia.Jeden sprzedawca napisał w opisie ze jest on do filtrowania oparów paliwa.
Kyuz0
 

Postprzez marcin255 » 30 maja 2016, 13:33

filtr węglowy oparów paliwa to nie filtr paliwa
Ceed GT 1.6T 225KM
Obrazek
T-Roc 2.0 TSI 4motion 190KM
Obrazek
Avatar użytkownika
Forumowicz
 
Od: 28 gru 2008, 23:14
Posty: 5324 (26/45)
Skąd: Wrocław
Auto: Była 323F BA
87 KM -122 Nm
Mazda 3-2.0 LF
166 KM -209
KIA CEE’D GT
204 KM -265 Nm up
225 KM -330 Nm
T-Roc 2.0TSI 4motion 190KM 320Nm up.....?

Kto przegląda forum

Użytkownicy przeglądający ten dział: Brak zidentyfikowanych użytkowników i 2 gości

Moderator

Moderatorzy 3 / 323