Problem z odpalaniem
Strona 1 z 1
O tuż problem pojawił się znikąd, auto w ogolę nie trzyma wolnych obrotów dławi się i kopci na czarno, pod filtrem węglowym znalazłem rurkę gumowa jest podłączona na trójniku do filtra i 2 innych, ale nie mogę znaleźć gdzie ona powinna być podłączona na wyłączonym silniku i zapłonie od czasu do czasu leci paliwo nią, ktoś może wie gdzie to podłączyć

- Od: 27 lip 2014, 11:33
- Posty: 5
- Auto: mazda 323f 1.5 88km rok 2000
przyczyn może być sporo a przez internet ciężko się naprawia samochód .
To że dymi na czarno to z powodu złego składu mieszanki ,przyczyną może być przepływomierz lub źle działa zawór EGR np. zaciął się w pozycji otwartej i stąd czarne spaliny i źle chodzi na wolnych obrotach ,zakładam że układ zapłonowy jest sprawny ( świece i cewki sprawne) .
Sprawdź błędy silnika może jakieś zostały zapisane przez ECU ,jest na forum i będziemy radzić dalej ,choć z tym może być ciężko bo są wakacje.
Dziwi mnie że tą rurką leci ci paliwo jak u siebie nie zaobserwowałem takiego zjawiska ,nie masz klimy bo może to z niej leci woda bo ma takie zadanie .
To że dymi na czarno to z powodu złego składu mieszanki ,przyczyną może być przepływomierz lub źle działa zawór EGR np. zaciął się w pozycji otwartej i stąd czarne spaliny i źle chodzi na wolnych obrotach ,zakładam że układ zapłonowy jest sprawny ( świece i cewki sprawne) .
Sprawdź błędy silnika może jakieś zostały zapisane przez ECU ,jest na forum i będziemy radzić dalej ,choć z tym może być ciężko bo są wakacje.
Dziwi mnie że tą rurką leci ci paliwo jak u siebie nie zaobserwowałem takiego zjawiska ,nie masz klimy bo może to z niej leci woda bo ma takie zadanie .
xedos1972
To nie jest rurka od klimy tylko od filtra weglowego mnie tez dziwi ze tedy paliwo leci. Moze mi ktos fotki swojego podesłać chodzi o ten filtr weglowy i wezyki przy przepustnicy czy tez jest na trójniku ten ktory idzie do regulatora po lewej stronie co dostaje podcisnienie z kolektora

- Od: 27 lip 2014, 11:33
- Posty: 5
- Auto: mazda 323f 1.5 88km rok 2000
wiem do czego jest ta rurka ,pomyślałem jak coś leci to może pochodzi to z klimy . odepnij wtyczkę od sterowania filtrem węglowym jest zamocowany na gumie od dolotu przy przepustnicy .układ służy do odzyskiwania oparów paliwa.foto jak nie zapomnę to później bo teraz nie mogę.
xedos1972
Filtr weglowy jest zalewany paliwem bo po odpieciu wężyk od zaworu przy przepustnicy bylo slychac jak wylewalo sie paliwo z wezyka z tego na zdjeciu. Dodam ze jak auto odpali po dluzszym staniu to pochodzi xhwilke dobrze a pozniej gaśnie jak by byl brak paliwa chidz pompa podaje paliwo moze to wina tego wezyka z trojnika co jest podpiety pod wezyk idacy do filtra weglowego. Już nie mam pomysłu.

- Od: 27 lip 2014, 11:33
- Posty: 5
- Auto: mazda 323f 1.5 88km rok 2000
a sprawdź przelew paliwa czy działa, nadmiar wraca do zbiornika ,koniec listwy wtryskowej sterowanie z kolektora podciśnieniem. odepnij przelew ten na górze listwy i nałóż jakiś wężyk i zrób odprowadzenie do jakiegoś pojemnika . skąd u ciebie tam paliwo ?. wężyk dolny z filtra węglowego idzie w trójnik i jeden na dół a drugi koniec do góry na filtr i tam jest zaworek .góra cienki to podciśnienie z kolektora a grubszy idzie w stronę zbiornika gdzie wchodzi tego nie zlokalizowałem czy dochodzi do wlewu czy do zbiornika ,trzeba by się pod samochód położyć .w miejscu gdzie jest pompa na pewno idą dwa przewody zasilanie listwy i powrót.
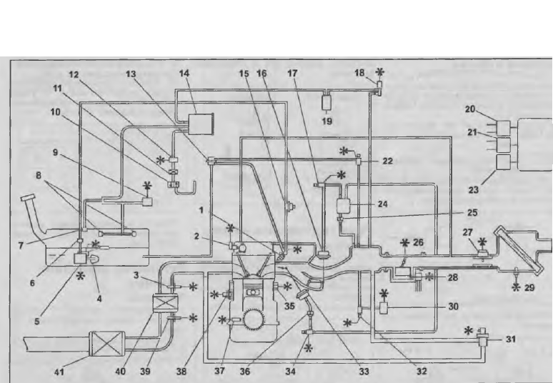
tu masz schemat ale to jest z protege
spadam do pracy.
tu masz schemat ale to jest z protege
spadam do pracy.
xedos1972
Strona 1 z 1
Kto przegląda forum
Użytkownicy przeglądający ten dział: Brak zidentyfikowanych użytkowników i 3 gości
