Rurka od klimatyzacji – nieszczelność
Dzisiaj zdemontowałem "puchę" filtra powietrza w mojej M6 w poszukiwaniu książkowych objawów nieszczelnej klimy na wężu a dokładniej jej giętkiej części znajduję się mokry ślad czy może to być objaw nieszczelności tego węża bo mówiąc szczerze nie ma tam możliwości żeby coś na niego kapało. Miał ktoś taki objaw proszę o odp.

- Od: 10 mar 2012, 22:28
- Posty: 28
- Auto: Mazda 6 '03 2.0 CiTD
witam
! dawno nie zaglądałem na forum !
mam ten sam problem co 80% piszących w tym wątku
czyli nieszczelna rurka klimy pod filtrem powietrza
w ASO Księzyno zamówiłem 309 zł ale ponoć trzeba czekać ok 2 tyg bo mają problemy z dostarczaniem części
! dawno nie zaglądałem na forum ! mam ten sam problem co 80% piszących w tym wątku
czyli nieszczelna rurka klimy pod filtrem powietrza
w ASO Księzyno zamówiłem 309 zł ale ponoć trzeba czekać ok 2 tyg bo mają problemy z dostarczaniem części

- Od: 13 lut 2011, 15:37
- Posty: 32
- Skąd: Białystok
- Auto: Mazda 6 Top Kombi 2.0
MZR-CD `06,
Toyota MATRIX.
Witam w Klubie niesprawnej klimatyzacji.
Moja Klima też zaczęła szwankować. Po przeczytaniu waszych postów postanowiłem napełnić ją z barwnikiem. Długo się nią nie nacieszyłem – przy czym byłem tego świadomy, że będzie to albo dzień albo miesiąc. Okazało się ze rurka GJ6A61465C ma dziurkę. Szybki demontaż atrapy ze znaczkiem mazdy dwie śruby od góry, zatrzaski od dołu; Demontaż puchy filtra powietrza razem z jej podstawką 2x klucz 12.
Rurkę trzymają trzy śruby jedna przy skraplaczu/ chłodnicy druga pod w okolicy puchy powietrza i trzecia przy uchwycie w połowie długości GJ6A61465C . Klucz 10 płaski.
Jutro daję ją do spawania, zobaczę co z tego wyjdzie i dam znać.
[/img]
Pozdrawiam
Dziurka znajduje się w miejscu gdzie środkowy uchwyt trzyma przewód.
Moja Klima też zaczęła szwankować. Po przeczytaniu waszych postów postanowiłem napełnić ją z barwnikiem. Długo się nią nie nacieszyłem – przy czym byłem tego świadomy, że będzie to albo dzień albo miesiąc. Okazało się ze rurka GJ6A61465C ma dziurkę. Szybki demontaż atrapy ze znaczkiem mazdy dwie śruby od góry, zatrzaski od dołu; Demontaż puchy filtra powietrza razem z jej podstawką 2x klucz 12.
Rurkę trzymają trzy śruby jedna przy skraplaczu/ chłodnicy druga pod w okolicy puchy powietrza i trzecia przy uchwycie w połowie długości GJ6A61465C . Klucz 10 płaski.
Jutro daję ją do spawania, zobaczę co z tego wyjdzie i dam znać.
[/img]
Pozdrawiam
Dziurka znajduje się w miejscu gdzie środkowy uchwyt trzyma przewód.

- Od: 22 mar 2013, 18:08
- Posty: 30
- Skąd: Kraków
- Auto: Mazda 6 Exclusive 2004
GG 2.0L Diesel 136 KM RF-5C
Rurka została zespawana Tig'iem. Wycięty został element z czarnymi wżerami. Przeszczep od audi przyjął się pomyślnie. Tak dla informacji czynnik + olej musi być idealnie wymyty z tytułu zapłonu podczas spawania co może powodować pojawienie się tzw. jeziorka co w konsekwencji powoduje zablokowanie rurki.
Pozdrawiam.
Pozdrawiam.

- Od: 22 mar 2013, 18:08
- Posty: 30
- Skąd: Kraków
- Auto: Mazda 6 Exclusive 2004
GG 2.0L Diesel 136 KM RF-5C
Witam Wszystkich
freon mi uciekł wogóle nie chłodzi pyska :S dziś zobaczyłem ze na pompie gdzie wchodzą 2 rury od klimy i jest zielony szron :S tam jest orling czytałem u was , jaki koszt naprawy czegos takiego ?bo cięzko sie tam dostać palcem a co dopiero kluczem :S

- Od: 20 cze 2011, 17:02
- Posty: 72
- Skąd: Dębica
- Auto: Madzia 6 GG 2003 :) 2.0 ;o
Witam szanowne grono i odgrzewam kotlet..
W związku z tym, że temat jest dość stary i nie w nim już zdjęć, mam pytanie:
u mnie nieszczelność pojawiła się na łączeniu przewodów pod puszką filtra powietrza. Może ktoś się orientuję czy są tam jakieś "oringi do wymiany" czy raczej będzie to nieszczelność w wyniku pęknięcia przewodu.
Obejrzałem cały przewód i nigdzie wycieków nie widać.. Byłem na sprawdzaniu szczelności, i gaz ulatniał się ewidentnie spod puszki filtra. Może ktoś miał akurat taki sam problem, tj. w tym samym miejscu..?
Pozdrawiam
Ps. GY L3 2007
W związku z tym, że temat jest dość stary i nie w nim już zdjęć, mam pytanie:
u mnie nieszczelność pojawiła się na łączeniu przewodów pod puszką filtra powietrza. Może ktoś się orientuję czy są tam jakieś "oringi do wymiany" czy raczej będzie to nieszczelność w wyniku pęknięcia przewodu.
Obejrzałem cały przewód i nigdzie wycieków nie widać.. Byłem na sprawdzaniu szczelności, i gaz ulatniał się ewidentnie spod puszki filtra. Może ktoś miał akurat taki sam problem, tj. w tym samym miejscu..?
Pozdrawiam
Ps. GY L3 2007

- Od: 20 sie 2008, 23:41
- Posty: 39
- Skąd: Starachowice
- Auto: Było:
323F BA 1.5 16V 96r.
323F BA 1.5 16V 97r.
323F BA 1.8 16V 97r.
M6 GY 2.3 16V 07r.
jest: M6 GH 2.5 MZR 10r.
Witaj !
Wczoraj własnie wymieniałem oringi w tych rurkach
. W twoim wypadku ewidentnie widać nieszczelność w tym miejscu (zielony smar). Na początku jedź do jakiegoś serwisu od klimy niech Ci wyciągną resztke czynnika o ile jeszcze coś tam zostało, następnie wykręcasz tą rurkę (lepszy dostęp będziesz miał jak sciągniesz grill od zderzaka), jak wyciągniesz rurkę wymiana oringów koszt około 10gr sztuka
+ nabicie, u mnie wyszło 430 gr czynnika, 6 oringów, 2 zaworki w cenie 140 zł
Jak wyciągniesz rurkę to napisz jakiego koloru miałeś oringi bo jestem ciekawy
Ponadto radze ci posprawdzać dobrze wszystkie łączenia czy czasem gdzieś jeszcze nie puszcza. Życze udanej pracy
Wczoraj własnie wymieniałem oringi w tych rurkach
. W twoim wypadku ewidentnie widać nieszczelność w tym miejscu (zielony smar). Na początku jedź do jakiegoś serwisu od klimy niech Ci wyciągną resztke czynnika o ile jeszcze coś tam zostało, następnie wykręcasz tą rurkę (lepszy dostęp będziesz miał jak sciągniesz grill od zderzaka), jak wyciągniesz rurkę wymiana oringów koszt około 10gr sztuka Jak wyciągniesz rurkę to napisz jakiego koloru miałeś oringi bo jestem ciekawy
Ponadto radze ci posprawdzać dobrze wszystkie łączenia czy czasem gdzieś jeszcze nie puszcza. Życze udanej pracy

Mogę opisać na swoim przykładzie że rurka była nieszczelna w miejscu obejmy metalowej, dodatkowo miałem nieszczelność na chłodnicy. W serwisie klimatyzacji szczelność maiłem sprawdzaną na podstawie nabicia klimatyzacji azotem i po 8h sprawdzenie czy ciśnienie się utrzymuje czy spada.
W końcu naprawione. Nieszczelność była dokładnie tam , gdzie widać na zdjęciu. Naprawa, kosztowała mnie w sumie 320 zł. w tym, sprawdzenie skąd ucieka gaz, demontaż, spawanie nieszczelności, ponowny montaż, nabicie klimy. Działać, działa, chłodzi, termometr (taki w zegarku) pokazuje przy nawiewach 9.4'c . Mam nadzieję, że jakiś czas ten spaw pochula. 

- Od: 20 sie 2008, 23:41
- Posty: 39
- Skąd: Starachowice
- Auto: Było:
323F BA 1.5 16V 96r.
323F BA 1.5 16V 97r.
323F BA 1.8 16V 97r.
M6 GY 2.3 16V 07r.
jest: M6 GH 2.5 MZR 10r.
Panowie,
Ja również straciłem klimę. Pojechałem do serwisu, zostawiłem auto na 3h po czym zapłaciłem 200 PLN za nabicie klimy i sprawdzenie szczelności.
Klima wytrzymała tydzień czasu, dzisiaj pojechałem z reklamacją to po 6h pokazali mi pod ultrafioletem nieszczelność na sławetnym przewodzie 61-46X
No własnie – muszę wymienić ten przewód ponieważ dzisiaj tam zajrzałem i na połączeniu z przewodem z czarnym wężem jest mnostwo tłustego syfu.
Pytanie tylko jaki model tego przewodu kupić – moja mazda to model GY, 1.8 PB z 11.2007.
W internecie są dostępne przewody z dwoma numerami seryjnymi:
MAZDA (61-465A)
MAZDA (GP9A)
MAZDA (GP9A61465)
MAZDA (GP9A61465A)
MAZDA (61465)
MAZDA (GJ6A61465)
GJ CZY GP? Czy ktoś to może sprawdzić? Cena zaporowa, 250PLN od sztuki.
Ciekaw jestem czy pasuje tam też przewód od roczników 2002-2005.
Ja również straciłem klimę. Pojechałem do serwisu, zostawiłem auto na 3h po czym zapłaciłem 200 PLN za nabicie klimy i sprawdzenie szczelności.
Klima wytrzymała tydzień czasu, dzisiaj pojechałem z reklamacją to po 6h pokazali mi pod ultrafioletem nieszczelność na sławetnym przewodzie 61-46X
No własnie – muszę wymienić ten przewód ponieważ dzisiaj tam zajrzałem i na połączeniu z przewodem z czarnym wężem jest mnostwo tłustego syfu.
Pytanie tylko jaki model tego przewodu kupić – moja mazda to model GY, 1.8 PB z 11.2007.
W internecie są dostępne przewody z dwoma numerami seryjnymi:
MAZDA (61-465A)
MAZDA (GP9A)
MAZDA (GP9A61465)
MAZDA (GP9A61465A)
MAZDA (61465)
MAZDA (GJ6A61465)
GJ CZY GP? Czy ktoś to może sprawdzić? Cena zaporowa, 250PLN od sztuki.
Ciekaw jestem czy pasuje tam też przewód od roczników 2002-2005.
-
imonfire
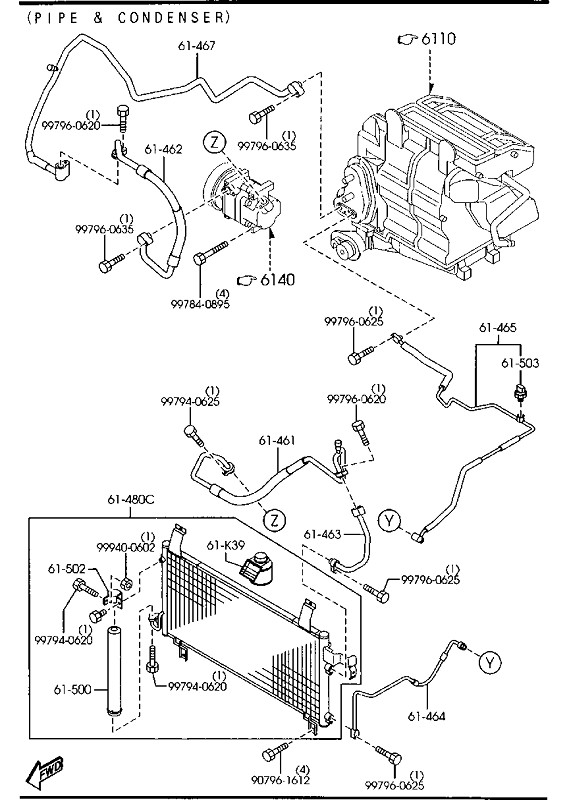
Witam i prosze o pomoc,
Mam nieszczelnosc na rurce klimatyzacji i ta ktora kupilem nie pasuje mocowaniem ani wyprofilowaniem. Szukam rurki tej starej ze zdjecia. Gdzie moge ja dostac i jaki to nr wlasciwy?
na tym schemacie jest to 61-465 i jest to juz wlasciwy schemat (ktory w koncu po trudach znalazlem) ale pojecia nie mam jak ja namierzyc katalogowo i gdzie dostac.
Moja Madzia to 2003r kombi 121km, JMZGY
Mam nieszczelnosc na rurce klimatyzacji i ta ktora kupilem nie pasuje mocowaniem ani wyprofilowaniem. Szukam rurki tej starej ze zdjecia. Gdzie moge ja dostac i jaki to nr wlasciwy?
na tym schemacie jest to 61-465 i jest to juz wlasciwy schemat (ktory w koncu po trudach znalazlem) ale pojecia nie mam jak ja namierzyc katalogowo i gdzie dostac.
Moja Madzia to 2003r kombi 121km, JMZGY

- Od: 29 wrz 2009, 17:17
- Posty: 31
https://allegro.pl/listing?string=przew ... i-1-5-1003Do wyboru do koloru
O nowe zapytaj u nich https://www.mazparts.pl/
http://allegro.pl/rurka-klimatyzacji-pr ... 67605.htmlTa chyba pasuje, ale uzywka nie ma sensu.
O nowe zapytam z 2 linku-dziekuje

- Od: 29 wrz 2009, 17:17
- Posty: 31
sobartur napisał(a):A mi zrobili to tak.
Koszt materiału 52zł plus nabicie.
Hej, czy to rozwiązanie Ci dalej działa?
Swoją drogą, pamiętasz jaki miałeś dokładnie numer tej rurki zamiennej? Bo też mam model 2.3 po lifcie.
Kto przegląda forum
Użytkownicy przeglądający ten dział: Brak zidentyfikowanych użytkowników i 1 gość
Moderator
Moderatorzy 6 / 626 / MX-6 / Xedos 6