Witam
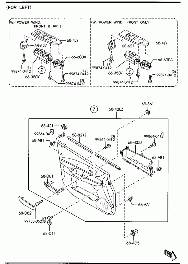
Poszukuje miejsca gdzie znajduje się moduł sterowania elektrycznymi szybami w Mazdzie PREMACE 2003. Zamierzam zamontować moduł domykania szyb i potrzebny jest też schemat elektryczny. Czy ktoś może potrafi mi pomóc?
Gdzie się znajduje moduł elektrycznych szyb w Premacy?
Strona 1 z 1
Yard napisał(a):Niestety schematów elektrycznych nie mam. Można posiłować się 323 lub 626 ale nie wiem czy bedzie tak samo.
Slygawrys poszukuje oprócz schematu elektrycznego także miejsce gdzie się znajduje ów moduł.
W końcu wziąłem się z podłączanie modułu domykania szyb. Na początku sprawa wyglądała na trudną do wykonania. Po rozebraniu lewego boczku drzwi okazało się że moduł sterownia szybami znajduje się wraz z przełącznikami. Więc sprawa okazała się banalnie prosta wystarczyło się podpiąć modułem domykania szyb pod kostkę od sterowania szybami. Trzy godzinki roboty i wszystko spięte razem (centralny zamek z alarmem na pilot i domykaniem szyb ).
ile Cię kosztował taki moduł ?
czy po ponownym otwarciu alarmu szyby wracają do pozycji przed zamknięciem ?
Jeśli tak to czy wszystkie czy tylko przednie ?
czy po ponownym otwarciu alarmu szyby wracają do pozycji przed zamknięciem ?
Jeśli tak to czy wszystkie czy tylko przednie ?
[img]http://www.wac.zum.pl/mazdaspeed1.jpg[/img]
MOJA MADZIA.... http://forum.mazdaspeed.pl/viewtopic.php?t=60481&highlight=premacy
MOJA MADZIA.... http://forum.mazdaspeed.pl/viewtopic.php?t=60481&highlight=premacy

- Od: 7 lip 2008, 08:22
- Posty: 375
- Skąd: Nowy Sącz
- Auto: Mazda Premacy 2005(74KW-104KM)
http://www.lechpol.pl/shop_towar_view.p ... IDTOW=4591 ja mam w tej hurtowni mały rabat. Ale na allegro można kupić takie moduły od 40 d0 60zł
Ten moduł domykania szyb to bardzo fajna i przydatna rzecz, a że z reguły jestem zapominalski to kilka razy mi się przytrafiło zostawić samochód z nie dosuniętymi szybami , taki moduł na 4 szyby zamontowałem ze 2 mies temu i działa
! teraz to przynajmniej nie zapomnę zamknąć szyb

! teraz to przynajmniej nie zapomnę zamknąć szyb 
-
irys11
Po chwili namysłu kupiłem i ja
http://www.allegro.pl/item686576511_mod ... orowy.html
Wczoraj szlif do elektryka i po nie całych dwóch godzinkach wszystko było gotowe. Kabelki przeciągnięte przez tę dziwną kostkę w drzwiach, podpięcie pod alarm itp.
Prawie wszystko, moduł działa poprawnie tylko na trzech szybach.
Po zazbrojeniu pilotem alarmu domyka szyby pojedynczo, wszystkie poza szybą kierowcy, przepinaliśmy pod różną kolejność domknięcia i nic zawsze tej jednej nie rusza. Pewnie chodzi o to ze ta kierowcy ma funkcje auto. Czy ktoś może ma jakiś pomysł ? Następna wizyta u elektryka w przyszłym tygodniu.
http://www.allegro.pl/item686576511_mod ... orowy.html
Wczoraj szlif do elektryka i po nie całych dwóch godzinkach wszystko było gotowe. Kabelki przeciągnięte przez tę dziwną kostkę w drzwiach, podpięcie pod alarm itp.
Prawie wszystko, moduł działa poprawnie tylko na trzech szybach.
Po zazbrojeniu pilotem alarmu domyka szyby pojedynczo, wszystkie poza szybą kierowcy, przepinaliśmy pod różną kolejność domknięcia i nic zawsze tej jednej nie rusza. Pewnie chodzi o to ze ta kierowcy ma funkcje auto. Czy ktoś może ma jakiś pomysł ? Następna wizyta u elektryka w przyszłym tygodniu.
[img]http://www.wac.zum.pl/mazdaspeed1.jpg[/img]
MOJA MADZIA.... http://forum.mazdaspeed.pl/viewtopic.php?t=60481&highlight=premacy
MOJA MADZIA.... http://forum.mazdaspeed.pl/viewtopic.php?t=60481&highlight=premacy

- Od: 7 lip 2008, 08:22
- Posty: 375
- Skąd: Nowy Sącz
- Auto: Mazda Premacy 2005(74KW-104KM)
Strona 1 z 1
Kto przegląda forum
Użytkownicy przeglądający ten dział: Brak zidentyfikowanych użytkowników i 2 gości

